- 质量稳定:实行全过程质量监控,细致入微,全方位检测!
- 价格合理:高效内部成本控制,减少了开支,让利于客户!
- 交货快捷:先进生产流水线,充足的备货,缩短了交货期!
- 销售:022-85190966-1
- 传真:022-24919002
- 技术:022-85190966-5
产品概述:
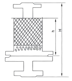
ZHQ-1、ZHQ-S砾石阻火器砾石阻火器由颗粒石子组成其核心阻火层,主要用于腐蚀性特别强及介质粘度较大的管线上。
性能参数:
1、阻爆性能合格,连续13次阻爆性能试验每次均能阻火。
2、耐烧性能合格,耐烧试验1小时无回火现象。
3、壳体水压试验合格。本产品结构合理,重量轻、耐腐蚀。易检修,安装方便。阻火器芯子采用不锈钢材料, 耐腐蚀易于清洗。
4、阻爆性能:ⅡB级。
结构特点:
1、结构合理、重量轻、耐腐蚀。
2、易检修、安装方便。
3、阻火器芯子采用砾石材料,耐腐蚀,易于清洗。
技术参数表:
|
型 号 |
ZHQ-1、ZHQ-S |
防爆等级 |
BS 5501:ⅡA ⅡB ⅡC |
|
规 格 |
DN15~600;GB81~59;PN0.6~2.5;FF;RF |
设计制造检测标准 |
GB5908-86 SY7511-87 |
|
壳体材质 |
L2、A3、304、304L、316、316L |
密封垫片 |
丁晴橡胶聚四氟乙烯金属垫片 |
|
阻火芯件材质 |
砾石 |
环境温度 |
CS:-30℃~+350℃;SS:-80℃~+480℃ |
|
法兰标准 |
HG GB SH HGJ JB ANSI JIS |
连接方式 |
法兰连接 对焊连接 螺纹连接 |
|
螺帽螺栓 |
20# 304 304L 316 316L |
外表 |
CS:Paint SS:No Paint |
主要外形及连接尺寸表:

|
公称直径 DN(mm) |
结构尺寸 |
|
|
H |
h |
|
|
15 |
320 |
180 |
|
20 |
320 |
185 |
|
25 |
320 |
240 |
|
32 |
320 |
240 |
|
40 |
405 |
285 |
|
50 |
405 |
285 |
|
65 |
453 |
316 |
|
80 |
487 |
350 |
|
100 |
501 |
380 |
|
125 |
555 |
415 |
|
150 |
620 |
440 |
|
200 |
695 |
510 |
|
250 |
750 |
530 |
声明:本文中所有文字、数据、图片考虑到生产工况条件不同,难免会产生偏差、不恰当或是有不充分的描述,故均适用于参考,如果您对本文中所提供的ZHQ-1、ZHQ-S砾石阻火器产品内容有任何疑问,请您联系我们,我们将竭诚为您服务!


